基于FGI指数定投定卖策略的历史回测零撸BTC、ETH方案(1)
本文作者:@amala (南师/Neil) 2022-5-10
一、策略介绍 针对投资中经常出现的一种窘境,即因经济环境恶化、失业、退休等不可抗力,投资者赚钱能力下降,现金流逐渐枯竭,导致经典定投策略不能持续,我们在此希望可以探索一个“买卖对称”的低风险盈利模式,最终实现接近0成本获取某些资产(本文将主要讨论),或者可以不断赚得法币,实现被动收入。 所谓“买卖对称”,意指有买有卖,且买卖或按法币对称,或按资产对称。按法币对称,则实现净赚资产的目的;按资产对称,则实现净赚法币的目的。本文介绍第一种,后续再介绍第二种。 本文以FGI(贪婪恐慌)指数(https://alternative.me/crypto/fear-and-greed-index/)为策略依据,选取BTC、ETH两种主流加密资产为标的,设定2018/2/1(FGI指数公布第一日)-2022/4/30为回测期。回测期历时4年3个月,涵盖了一整个牛熊周期。同时,以标的资产当天币安开盘(UTC时间0点,与FGI指数每日公布时间相同)价格为计算价格,买入、卖出额度采用U值对称策略,为方便计算,每次买入、卖出均按100U计。具体过程:当FGI指数低于一定的数值买入100U的标的资产,高于一定的数值卖出100U的标的资产。因FGI指数每24小时报数一次,因此每天只能买或卖一次。
二、信号选择 策略参数即买入、卖出的FGI信号值,确定该值就可以执行和回测策略。按FGI指数的定义和区间划分标准,25为恐慌与极度恐慌的分野,即25以下为极度恐慌区间,理论上此时应为比较合适的买入机会。同时,回测周期内FGI指数在25及以下的买入天数为377天,按照“买卖对称”原则,应选择相应天数的FGI指数卖出信号值。经统计,当FGI指数卖出信号为62、63、64时,卖出天数为393、380、369,其中信号值为63的卖出天数380最接近377,因此选择FGI指数买入信号是25、卖出信号是63。
低于25的天数 = 高于XX的天数 = 377
三、回测流程 回测流程如下图所示(此部分可跳过)。

图 1 回测流程图 需要指出的是FGI指数在2018/4/14-2018/4/16三天没有数据,这三天不执行任何操作。当遇到连续卖出直至无资产可卖时,则停止操作,直到重新买入。
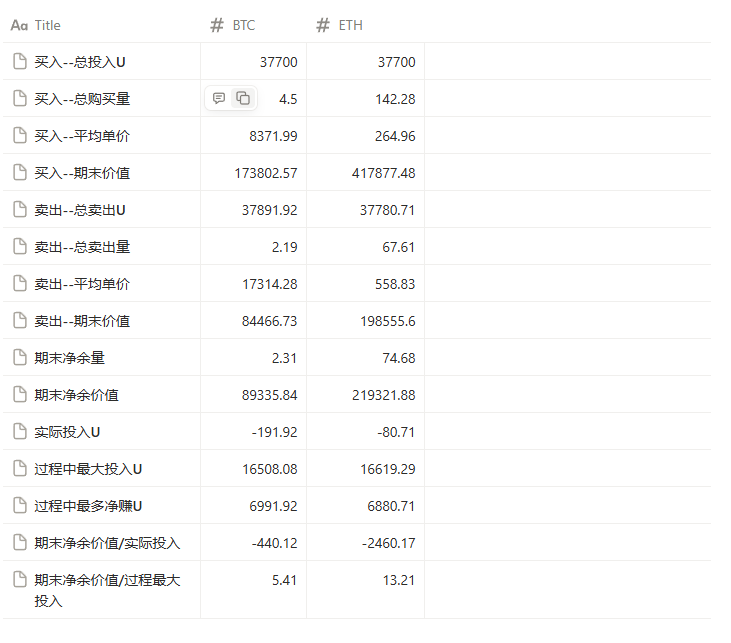
四、回测结果
回测之后,汇总买入、卖出两个方向的各项数据,得出期末净余量、净余价值、实际投入、过程中最大投入、最多赚U和收益率情况,结果如下表所示。
表1:不同标的回测结果

以上数据是每次买卖100U前提下,如果每次买卖1000U,则相关计算结果放大10倍。
五、结论
形成结论如下:
- 利用FGI指数定投定卖,可能是一种行之有效的长期交易策略。其本质是逆向操作,即“别人贪婪我恐惧,别人恐惧我贪婪”。逆向投资策略因约翰.邓普顿爵士在美股市场上取得的巨大成功而闻名遐迩,其秘诀在于反人性操作,虽然人们都知道逆向操作的威力,但是因为受到短期逐利、厌恶损失、禀赋效应等认知偏差的干扰,极少有人可以持之以恒,故而其不同于那些一旦公布就失效或者效用大打折扣的一般交易策略。
- 可以实现零成本或接近零成本。该策略取得的收益惊人,如上图所示,每当FGI指数达到25或以下,即使每次仅投入100U买入BTC,100U买入ETH,4年另3个月下来将以负成本(-191.92-80.71=-272.63U)拥获得2.31个BTC和74.68个ETH。如果每次投入1000U买入BTC,1000U买入ETH,将以负成本(-2726.3U)获得23.1个BTC和746.8个ETH。按照回测截止日2022年4月30日价格计价,投资者将拥有308万美元,而如果按照2021年11月10日前高价格计价,投资者将拥有523万美元的巨额资产。同时因为是负成本,所以收益率为+∞。
- 按可持续承受能力确定投入。基于FGI指数定投定卖策略,可以有效地帮助投资者节约投入成本,有利于长期坚持。但是即使是这个策略,在短期内对资金依然有一定要求,且投资者必须在一定时间尺度内承受浮亏。以BTC4年一减半为周期,FGI指数25及以下出现的频率约为25%,即一共需要买入的次数约为365×4×25%=365次。投资者可以把自己计划在未来4年投入的金额分成365份,确定自己每次买入的额度。当然这仅仅是一个最基本的策略模型,投资者可以根据自身情况和对市场的判断确定交易周期和投资次数。比如在下行周期开始投入,到牛市卖完为止。因为下行期FGI值低,可以很快开始买入,提高了资金利用的效率。
- 本策略依据的FGI指数实际上是BTC的FGI指数,目前alternative官方尚未推出ETH的相关指数,但是通过我们的回测数据,用BTC的FGI指数来操作ETH的定投定卖取得了比操作BTC的定投定卖更好的收益。这说明,其一、ETH走势和BTC正相关,其二、ETH波动性更大,BETA值更高,更适合套利。未来我们将测试结合ETH彩虹图来进行操作,即当BTC的FGI指数跌至25或以下,同时满足ETH彩虹图跌至ACCUMULATE或以下时买入,而卖出触发指标则设定为BTC的FGI指数升至63,同时满足ETH彩虹图升至FOMO intensifies。
- 投资标的的选取,必须是具有长期价值的资产。本文选取的BTC是加密货币的创世币,也是凝结了市场上最大共识的加密资产;ETH拥有加密世界最大的生态,也是第一条价值高速公路。而对于其他山寨币需要保持足够的警惕,某个山寨项目即使一度非常成功,但是如果它没有经历过一个完整的牛熊周期的考验,也不建议把它纳入到投资者的长期投资组合。
- 投资者如果懂得这是一场科技革命,是趋势,不以人的意志为转移,他就应该明白,长期无需预测,而短期无法预测。一切的短期预测,都是玄学,而非科学。投资者需要做的,不是焦虑明天的走势如何,而是思考如何能更坚决地遵守投资纪律,把一个有效的投资策略执行下去,这样他就赢得了未来。
另:基于FGI指数定投定卖策略,还可以按资产对称,即在定卖时每次卖出定投的平均资产份数,这样可以实现净赚法币的目的。此外,无论是法币对称还是资产对称策略,买入、卖出还可以依据指数偏离情况调整,后续可进一步回测对比。
*****本文为Amala(南师 Neil)原创

评论(0)